Puede
imprimir documentos o fotos en una variedad de tipos y tamaños de
papel.
Gire el
protector del alimentador hacia adelante, luego levante el soporte
del papel.
Extienda
la bandeja de salida.
Deslice
las guías laterales completamente hacia las orillas.
Si va a
cargar una pila de papel, primero airee las hojas y empareje los
bordes sobre una superficie plana.
Nota: No airee o
doble el papel fotográfico.
Realice
una de las siguientes acciones:
Coloque el
papel en el centro del soporte del papel en posición vertical, con
la cara satinada o imprimible hacia arriba.
Cargue hasta
10 sobres en el centro del soporte del papel. Cárguelos con el lado
imprimible hacia arriba y la solapa hacia la izquierda.
Cargue una
hoja de papel suelto u otro papel con orificios, tal como se
muestra a continuación.
Para cargar una hoja de papel más grande que tamaño Legal,
cierre el soporte del papel y la bandeja de salida, luego alise el
borde delantero del papel, tal como se muestra a continuación.
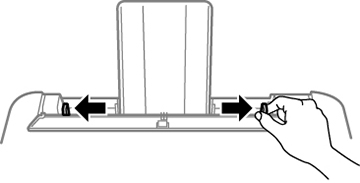
Deslice
la guía lateral contra el papel, sin apretarlo demasiado. Luego,
gire el protector del alimentador hacia atrás.
Si se le
indica en la pantalla LCD del producto, seleccione el tamaño y el
tipo de papel que cargó y pulse el botón OK.
Nota: Si va a
imprimir en papel con membrete, seleccione Membrete como el tipo de papel. Asegúrese de
seleccionar el ajuste de tamaño de papel correcto.
Siempre siga
las siguientes pautas al cargar papel:
Cargue solo el
número de hojas recomendado.
Cargue el papel
en posición vertical, independientemente de la orientación del
documento.
Cargue papel con
membrete o preimpreso de manera que el borde superior del papel
ingrese primero.
No coloque papel
por encima de la marca de flecha en la guía lateral.
Si experimenta
problemas al cargar una pila de sobres, alise cada sobre antes de
cargarlo o cargue un sobre a la vez.
No cargue sobres
que estén ondulados, doblados o demasiado delgados, o que tengan
ventanillas de plástico.
Consulte el
paquete del papel para obtener instrucciones de carga
adicionales.
Si utiliza papel
con perforaciones para carpeta, cargue solamente una hoja a la vez
y solamente de estos tamaños: Carta (8,5 × 11 pulg.
[216 × 279 mm]), A4
(8,3 × 11,7 pulg. [210 × 297 mm]) o
Legal (8,5 × 14 pulg.
[216 × 356 mm]).